САНТЕХНИК В КИЕВЕ

+38 (067) 465-64-68 ОСТАВИТЬ ЗАЯВКУ ВЫБРАТЬ ПО РАЙОНУ СТРАНИЦА АВТОРА
ГЛАВНАЯ > СТАТЬИ > Стандартные размеры для установки сантехники

Стандартные размеры для установки сантехники

Доброго времени суток Вам, друзья

Сегодня хочу рассказать о том, какие стандарты при установке сантехнических приборов обычно используются. Часто бывает, что хозяева квартир в процессе установки сантехнических приборов или ремонта задаются вопросами, на какой высоте должно быть то или иное оборудование в санузле. Вот и попробуем раскрыть здесь эту тему. Ни в коем случае не ограничиваю вас, в ваших фантазиях, о том где и как установить тот или иной прибор, но всё-таки придерживаясь некоторых стандартов, можно избежать проблем в последующей эксплуатаци. Тему для этой статьи мне подбросил один знакомый. Он позвонил мне и спросил, на какой высоте должны быть выводы воды над ванной. Сантехники пришли, сделали выводы, не закрепили, так оставили и ушли.

Так какая же высота на чём должна быть?

Изначально надо сказать, что очень важно понимать высоту, где мы сейчас находимся. И с этим нужно немного разобраться. Есть три уровня высоты, которые следует учитывать.

Первый, это пол "без ничего", т.е. как есть, после сдачи строителей. Обычно, это просто бетон, в лучшем случае покрыт гидроизоляцией.

Второй, -это уровень стяжки по всей квартире.

Третий,- это уровень плитки на полу.

От этого уровня и следует делать все рассчеты, (даже если его ещё нет).

Как это обычно рассчитывается:

Как расчитать высоту пола

Как видим на рисунке, слева будущий уровень пола с паркетом, а справа уровень плитки. Если вы хотите, чтобы пол в ванной был ниже на пару сантиметров, от уровня в ванной, то это тоже нужно заранее учитывать на этапе залития стяжки под плитку. Если планируете заложить "тёплый пол", то на это тоже следует учесть 6-7мм. При условии хорошей гидроизоляции на полу в санузле, это хорошее решение от возможного незначительного протекания воды на пол в ванной. Если в полу вмонтирован трап, то это может защитить даже от сильного протекания воды на пол в ва- шем санузле.

Квадратный трап для ванны

И первый, и второй вариант, хороши. Следует только учесть пропускную способность выбираемого изделия. Это можно прочесть в паспорте трапа. И надо сказать, что это не всегда соответствует скорости наполнения объёма сравнивая выход из смесителя и из оборванного штуцера от гибкого шланга (это, если брать случай с аварийной ситуацией в вашей ванной комнате).

Квадратный трап в полу

Можно использовать также и пристенный трап для душевой кабины, но не забывать о пропуской способности. Кроме того, следует отметить, что ограничивают, ещё и технические возможности. Трап имеет свою высоту, и ниже его не поставишь. А ещё, есть высота выхода из стояка канализации и она тоже сильно влияет на высоту пола в ванной комнате. В этом случае всё можно подправить(например опустить выход стояка канализации ниже), но это тянет на довольно большие дополнительные расходы и без услуг опытного сантехника здесь не обойтись. Как решение этой проблемы, чтобы обойтись без трапа (как защиты от подтопления) можно использовать "антипотоп".

Не буду рекламировать какое-то конкретное изделие, но скажу лишь, что хорошо себя зарекомендовало. В этом случае мы не увеличиваем толщину пола в санузле, но надёжно защищаем вашу квартиру от потопа. Кратко, (если кому интересно, "антипотоп" срабатывает на каплю воды попадающую на датчик протекания и перекрывает входные краны специальными приводами К этому устройству нужно только обеспечить наличие 220 вольт. Включение воды - вручную).

Итак, с технической стороной мы разобрались. Если рассматривать вариант с установкой смесителя с длинным "гусаком", который поворачивается и в ванну и в умывальник, то в этом случае, высота от "чистого" пола от 1,0 метра до 1,25 (или как вам комфортно). На чертеже рассматривается один из таких вариантов.

Советские стандарты для установки сантехники

Как вариант это может выглядеть так:

Смеситель поворотный  на ванну и умывальник

В варианте на ванну и на умывальник по отдельному смесителю, немного другие размеры. Выход канализации диаметром 50мм. и центр от угла 350мм и высота от "чистого" пола 100мм. Можно и ниже, но если выше, то будет сложно сделать совмещение осей выхода сифона ванны и канализации из стены.

Смеситель по высоте выводим как на рисунке, а по вертикали от угла с учетом центра вашей ванны (они бывают разной длины и ширины).

Высота смесителя над ванной

Бывают случаи, когда смеситель ставят на боковую стену ванны. Но и в этом случае высоту желательно выбрать такую же, как на рисунке выше. В этом случае есть один недостаток.Если выпуск из ванной не по центру, то вода из смесителя будет течь по всей ванне до выпуска и в последствии эксплуатации на поверхности остаётся след.

Смеситель над ванной

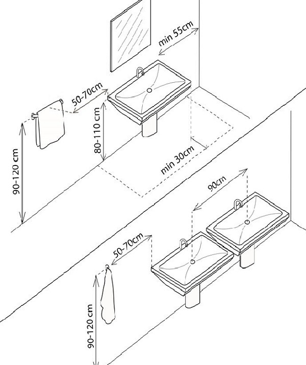
Далее, рассматриваем высоту для умывальника. Всё по чертежу, только если внизу под умывальником будет "полунога" или закрытый полупьедистал, то расстояние между выводами холодной и горячей воды лучше сделать 75 мм., т.к. с краниками при установке может не войти. Не лишним будет напомнить, что гораздо красивее, когда всё симметречно и по центру.

Высота установки для умывальника

Нужно отметить, что бывают случаи, когда в санузел для большой семьи, ставят два умывальника, то и в этом случае есть стандарты:

Расстояния между сантехникой в санузле

При такой расстановке размеры для выводов остаются такими же. Но должен заметить, что все эти размеры подходят только для стандартной техники. Если то, что вы собрались устанавливать отличается, то и размеры для выводов следует корректировать. Например стандартный умывальник по глубине 220 мм. Но встречаются и глубокие (более 220мм) и более тонкие, как на картинке:

Дизайнерский плоский прямоугольный умывальник

Понятно, что у такой модели, размеры будут отличаться от стандартной установки. Далее рассмотрим вариант с обычным умывальником, но необычным смесителем. В этом случае на смесителе есть выход на лейку. И этот вариант часто используется на умывальник в отдельном туалете, в качестве биде,или для технических нужд. С размерами в этом варианте всё по стандартам (по размерам, описанным выше).

Универсальный смеситель для умывальника с выводом для гигиенического душа

Не лишним будет отметить, что следует учесть размеры при размещении оборудования как на картинках ниже с вариантом на один унитаз.

Размеры для навесной арматуры возле унитаза

И на унитаз и биде рядом стоящие. Вдаваться в подробности выводов канализации и воды для этих приборов я не стану, т.к. это связано с очень многими параметрами и поэтому рекомендую обратиться к опытному сантехнику.

Размеры для установки биде и унитаза
Так это выглядит в реальной жизни.
Биде и унитаз расположенные рядом
Рассмотрим ещё вариант с душем.
Размеры для установки смесителя для душа
В этом варианте используется смеситель с выходом на две лейки. Одна на жесткой трубе с большой лейкой в виде большого свисающего подсолнуха, а параллельно лейка на гибком шланге. Выводы воды желательно по центру душевой кабины. А если ваш вариант просто лейка на гибком шланге, установленной на душевой стойке, то сам смеситель лучше ставить в сторону от центра, для того, чтобы не мешал в процессе эксплуатации. При этом сам смеситель в стороне, а душевая лейка по центру.
Душевая стойка и смеситель для душа

О том, как соблюдать размеры при установке водонагревателя, подробно описано в статье: Как установить водонагреватель

Надеюсь, что информация была полезной для вас.

Благодарю за ваше внимание.

Если вам понадобится помощь опытного сантехника, то звоните: (067) 465-64-68

ЧИТАТЬ СЛЕДУЮЩУЮ СТАТЬЮ
ЧИТАТЬ ПРЕДЫДУЮЩУЮ СТАТЬЮ

Сайт создан студией "A.V.A. studio" Все права защищены